Return to Japanese Patent Table of Contents

JP59179144

Reaction Apparatus

Patent Number: JP59179144

Publication date: 1984-10-11

Inventor(s): Takeuchi Yoshiyuki; Namajio Hiroyuki; Kobayashi Kazuto; Takahashi Naoyuki; Koikeda Minoru

Applicant(s): Shinnenriyouyu Kaihatsu Gijutsu Kenkiyuu Kumiai (Res Assoc Petroleum Alternat Dev (RAPAD))

Requested Patent: JP59179144

Application Number: JP19830052440 19830330

Priority Number(s):

IPC Classification: B01J8/24

EC Classification:

Equivalents:

Abstract

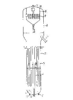
PURPOSE: To control reaction temperature uniformly and to recover the heat of reaction by providing a solid/gas separation zone to the upper part of heat transmission pipes provided to the periphery of a reaction pipe, and a large cyclone containing a small cyclone in the inside to the upper part of the solid/gas separation zone.

CONSTITUTION: Catalyst is packed in the bottom of a reactor 20, and preheated feed gas(H2/CO) is blown through a nozzle 3 into the reactor 20 and is made to flow upward in the reaction pipe 4. The packed catalyst is sucked in this stage into the reactor 4 and is moved in the mixing condition of the solid with the gas from the bottom of the reactor upward, causing thereby F-T reaction to form hydrocarbons. The solid/gas fluid mixture which has passed through the reaction pipe 4 is transferred to a solid/gas separation zone 6 having a wide inside shell dia. at the middle section of the reactor 20 causing sudden decrease of the flow rate of the gas. Accordingly a denser fluidized layer is formed and the gas alone is transferred to the top of the reactor 20 and the solid is separated from the gas.